Алонж АИО
Аллонж АИО применяется для сборки различных лабораторных приборов, аппаратов и установок. Изготавливаются из стекла Симакс ЧСН ИСО 3585.Различают аллонжи для обычной перегонки (аллонж типа АИ по ГОСТ 25336-82) и для вакуумной перегонки (аллонжи типов АИО и АКП по ГОСТ 25336-82).Иногда к аллонжам относят и насадки «Паук» для сбора различных фракций дистиллята без разбора установки для перегонки (аллонжи «Паук» типов АП и АКП по ГОСТ 25336-82).
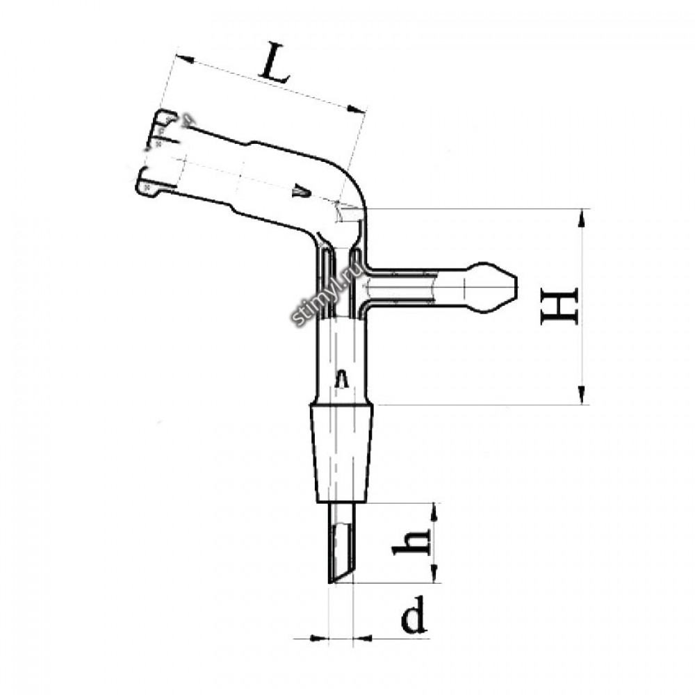
| Шифр | Шлиф КШ по ГОСТ 8682-93 | L мм | L1 мм | d мм | h мм | |
| керна | муфты | |||||
| 1583 | 14/23 | 14/23 | 50 | 50 | 6 | 20 |
| 1584 | 19/26 | 14/23 | 50 | 50 | 9 | 20 |
| 1585 | 29/32 | 14/23 | 50 | 65 | 9 | 20 |
| 1586 | 29/32 | 19/26 | 65 | 65 | 9 | 20 |
| 1587 | 29/32 | 29/32 | 75 | 65 | 9 | 20 |
| 2803 | 29/32 | 29/32 | 75 | 65 | 9 | 150 |
Документы
Документы на товар доступны только клиентам. Свяжитесь с нами и мы вышлем на ваш e-mail:
- сертификаты
- паспорта
- инструкции
- ГОСТ и ТУ
Цена и наличие
Цену и наличие уточняйте у наших специалистов. Описание и фото товара носят информационный характер и могут отличаться от описания, представленного в технической документации производителя. Обращаем ваше внимание на то, что данный интернет-сайт носит исключительно информационный характер и ни при каких условиях не является публичной офертой, определяемой положениями Статьи 437 Гражданского кодекса Российской Федерации. Рекомендуем перед покупкой проверять характеристики товара у наших менеджеров.
