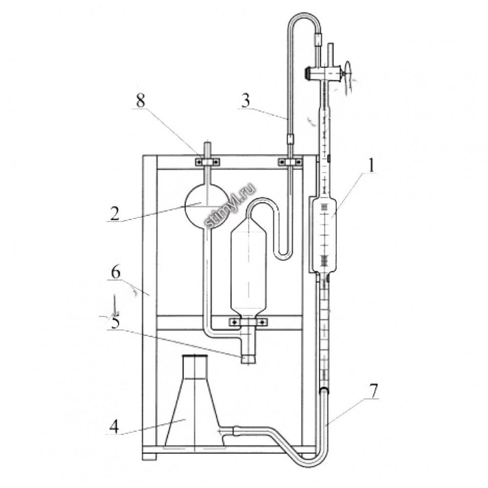
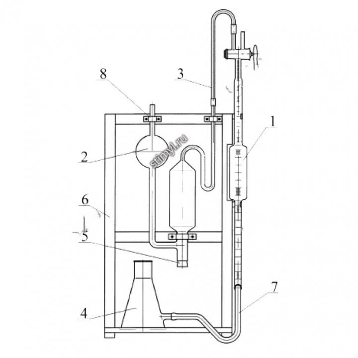
Газоанализатор кислорода ГК-1
Газоанализатор кислорода ГК-1 предназначен для определения процентного содержания кислорода в техническом и медицинском кислороде и кислородосодержащих газовых смесях при контроле продукционного кислорода и при технологическом контроле работы воздухоразделительных установок. Состоит из:
- бюретки Гемпеля
- пипетки Гемпеля
- трубки соединительной
- сосуда уравнительного
- резиновой пробки
- стеклянные детали закрепляются на штативе
- соединенного с пипеткой Гемпеля резиновой трубкой
- скоб
Принцип действия газоанализатора основан на поглощении кислорода медными спиралями, помещаемыми в расширенной цилиндрической части пипетки Гемпеля.Вместимость бюретки Гемпеля (от нулевой отметки до пробки крана), мл - 100±0,25Цена деления шкалы и допустимая погрешность бюретки при температуре (20±5)ºС, мл:
| Диапазон измерения, мл | Цена деления, мл | Допустимая погрешность, мл |
| 0 - 10 15 - 75 85 - 95 98 - 100 | 0,1 1,0 0,2 0,05 | 0,1 ± 1,0 ± 0,2 ± 0,05 |
Габаритные размеры, мм - 295х175х635Шифр –1651ТУ 4321-004-07609129-97
| Шифр изделий, входящих в прибор | |
| 1555 | Бюретка Гемпеля |
| 1718 | Пипетка Гемпеля |
| 2890 | Сосуд уравнительный |
Документы
Документы на товар доступны только клиентам. Свяжитесь с нами и мы вышлем на ваш e-mail:
- сертификаты
- паспорта
- инструкции
- ГОСТ и ТУ
Цена и наличие
Цену и наличие уточняйте у наших специалистов. Описание и фото товара носят информационный характер и могут отличаться от описания, представленного в технической документации производителя. Обращаем ваше внимание на то, что данный интернет-сайт носит исключительно информационный характер и ни при каких условиях не является публичной офертой, определяемой положениями Статьи 437 Гражданского кодекса Российской Федерации. Рекомендуем перед покупкой проверять характеристики товара у наших менеджеров.
