Прибор для перегонки высококипящих жидкостей под вакуумом
Предзаказ
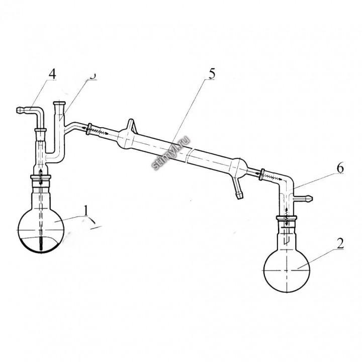
Прибор для перегонки высококипящих жидкостей. Прибор для перегонки высококипящих жидкостей под вакуумом состоит из:
- колбы реакционной вместимостью 250 или 500 мл
- колбы приемной вместимостью 250 мл
- насадки
- трубки
- холодильника ХПТ
- алонжа
| Шифр | Реакционная колба | Габаритные размеры, мм | |
| Шифр | Вместимость, мл | ||
| 2175 | 1386 | 250 | 705х 85х400 |
| 2176 | 1488 | 500 | 715х105х400 |
| Шифр изделий, входящих в прибор | |
| 1092 | Насадка Н2-29/32-14/23 |
| 1332 | Холодильник ХПТ-1-400-14/23 |
| 1585 | Аллонж АИО-29/32-14/23-50 |
Характеристики
ГОСТ/ТУ
4321-019-07609129-2005
Материал
Стекло
Документы
Документы на товар доступны только клиентам. Свяжитесь с нами и мы вышлем на ваш e-mail:
- сертификаты
- паспорта
- инструкции
- ГОСТ и ТУ
Цена и наличие
Цену и наличие уточняйте у наших специалистов. Описание и фото товара носят информационный характер и могут отличаться от описания, представленного в технической документации производителя. Обращаем ваше внимание на то, что данный интернет-сайт носит исключительно информационный характер и ни при каких условиях не является публичной офертой, определяемой положениями Статьи 437 Гражданского кодекса Российской Федерации. Рекомендуем перед покупкой проверять характеристики товара у наших менеджеров.
